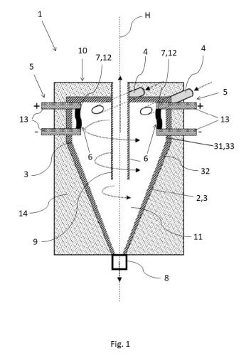
The invention relates to a device (1) for plasma-induced decomposition of alkanes, particularly of methane, into carbon and hydrogen, comprising: a cyclone separator (2) comprising a process chamber (3) extending about a vertical axis (H) and comprising at least one gas inlet (4) designed such that introduced alkane-containing gas circulates about the vertical axis (H) of the process chamber (3), as well asa plasma device (5) formed such that alkane contained in the alkane-containing gas is decomposed in a plasma region (6) of the process chamber (3) by means of plasma (7) into a gas comprising carbon and hydrogen, so that resublimation of the carbon to carbon particles is achieved, wherein the carbon particles are separable from the gas by means of the cyclone separator (2) and the plasma region (6) is located exclusively off the vertical axis (H). The invention further relates to respective method.

Figure 1 of the Patent Specification
EP4454747A1
-
A device (1) for plasma-induced decomposition of alkanes, in particular methane, into carbon and hydrogen, comprising:
- a centrifugal separator (2) comprising a process chamber (3) extending around a vertical axis (H) and having at least one gas inlet (4) designed such that introduced alkane-containing gas circulates around the vertical axis (H) of the process chamber (3), as well as
- a plasma device (5) which is designed to decompose alkane contained in the alkane-containing gas in a plasma region (6) of the process chamber (3) by means of plasma (7) into a gas comprising carbon and hydrogen, so that resublimation of the carbon to carbon particles is effected,
wherein the carbon particles can be separated from the gas by means of the centrifugal separator (2) and the plasma region (6) lies exclusively off the vertical axis (H).
-
A process for the plasma-induced decomposition of alkanes, in particular methane, into carbon and hydrogen, wherein alkane-containing gas is introduced through a gas inlet (4) into a centrifugal separator (2) with a process chamber (3), such that the introduced alkane-containing gas circulates around a vertical axis (H) of the process chamber (3), wherein alkane contained in the alkane-containing gas is decomposed in a plasma region of the process chamber (3) by means of plasma (7) into a gas comprising carbon and hydrogen, such that resublimation of the carbon to carbon particles is effected, wherein the carbon particles can be separated from the gas by means of the centrifugal separator and the plasma region (6) is located exclusively away from the vertical axis (H).
| Field | Value | |||||||||||||||
|---|---|---|---|---|---|---|---|---|---|---|---|---|---|---|---|---|
| Patent Family |
| |||||||||||||||
| Applicant(s) | ||||||||||||||||
| Inventors |
| Field | Value |
|---|---|
| Plasma Source Specification |
